Патент на изобретение № 2148845 «Способ предотвращения катастроф и устройство для его осуществления»

Материал из энциклопедии Учения Григория Грабового
Перейти к навигации Перейти к поиску
Патент № 2148845 «Способ предотвращения катастроф и устройство для его осуществления»
Патент № 2148845 «Способ предотвращения катастроф и устройство для его осуществления»


ФЕДЕРАЛЬНАЯ СЛУЖБА ПО ИНТЕЛЛЕКТУАЛЬНОЙ СОБСТВЕННОСТИ, ПАТЕНТАМ И ТОВАРНЫМ ЗНАКАМ
(19) RU
(11) 2 148 845
(13) C1
(51) МПК
G01V 9/00 (2000.01)
G01V 8/20 (2000.01)
(12) ОПИСАНИЕ ИЗОБРЕТЕНИЯ К ПАТЕНТУ
(21)(22) Заявка: 99120836/28, 07.10.1999
(71) Заявитель(и): Грабовой Григорий Петрович
(24) Дата начала отсчёта срока действия патента: 07.10.1999
(72) Автор(ы): Грабовой Г. П.
(45) Опубликовано: 10.05.2000 Бюл. № 13
(73) Патентообладатель(и): Грабовой Григорий Петрович
(50) Список документов, цитированных в отчёте о поиске: RU 2107933 С1, 27.03.1998. RU 2050014 С1, 10.12.1995. RU 2098850 С1, 10.12.1997. SU 1104459 А, 23.07.1984.
Адрес для переписки: 115230, Москва, Каширское ш. 5-1-66, Копаеву В. Г.

Способ предотвращения катастроф и устройство для его осуществления

Использование: для предотвращения катастроф природного или техногенного характера. Сущность: сигналы светового излучения от элемента, соответствующего зоне предполагаемой катастрофы, обрабатывают при помощи оптической системы, содержащей чувствительные элементы, изготовленные из кристалла, например из горного хрусталя, выполненные в виде идентичных кубиков, распределенных вдоль направления распространения излучения и размещенных в стеклянной сфере. Последний кубик при помощи оптического волокна соединен с датчиком, который через усилитель подключен к процессорной системе. В оптической системе формируют нормированное излучение. Предпочтительно проводить сканирование различных участков элемента, выполненного, например, в виде карты местности, при этом участку зарождения катастрофы соответствует зона с увеличенными характеристиками нормированного излучения. Так для катастроф природного характера участок зарождения катастрофы имеет характеристики на 20—28 %, превышающие характеристики излучения других участков элемента, а для катастроф техногенного характера соответствующее увеличение составляет 10—12 %. Технический результат: повышение эффективности при одновременном расширении области применения заявленных способа и устройства. 2 с. и 6 з.п. ф-лы, 3 ил.

Описание изобретения

Изобретение может быть использовано для предотвращения различных катастрофических явлений как природного характера, таких, например, как катастрофические землетрясения, так и катастрофических явлений техногенного характера, в частности на производственных объектах.

Наиболее близким по технической сущности к заявляемому является способ предотвращения катастрофы, носящей природный характер — землетрясения, посредством регистрации и обработки сигналов, характеризующих положение в зоне предполагаемой катастрофы (см. а.с. СССР N 1030496, кл. E 02 D 27/34, 1983). В соответствии с известным способом обрабатывают вибросигналы в виде колебаний земной коры, исходящие из эпицентра землетрясения, при помощи сетки сейсмоприемников, получая электрические сигналы. Преобразуют полученные электрические сигналы в центре сбора, регистрации и обработки информации в командные сигналы, которые подают на излучатели, выполненные в виде виброисточников. Вырабатываемые или нормализующие сигналы в виде упругих волновых колебаний направляют в зону очага землетрясения. Гашение сейсмических колебаний осуществляется при взаимодействии высокочастотных упругих колебаний, исходящих от виброисточников, с низкочастотными волновыми колебаниями от эпицентра землетрясения.

Недостатком известного способа является его низкая эффективность, поскольку противодействие катастрофическому землетрясению осуществляется лишь при достижении достаточной степени его развития, вследствие чего необходимо предварительно получить ряд прогностических сигналов в центре сбора, регистрации и обработки информации. Кроме того, известный способ обладает ограниченными функциональными возможностями, поскольку он может быть использован лишь для предотвращения землетрясений и непригоден для предотвращения других катастрофических явлений, например катастроф техногенного характера.

Наиболее близким по технической сущности к заявленному является устройство для предотвращения катастрофы природного характера — землетрясения, содержащее преобразователь сигналов, характеризующих положение в зоне предполагаемой катастрофы, систему регистрации сигналов и излучатель, генерирующий сигналы, способствующие нормализации положения в зоне предполагаемой катастрофы (см. а.с. СССР N 838014, кл. E 02 D 31/08, 1981). В известном устройстве в качестве преобразователя сигналов используется вибродатчик, преобразующий механические колебания, возникающие при землетрясении, в электрические сигналы, величина которых пропорциональна амплитуде механических колебаний. Система переработки сигналов состоит из предварительного усилителя, блоков выделения основной частоты, блока автоматического слежения за фазой, в котором полезный сигнал сдвигается по фазе на 180°, и усилителя мощности. Излучатель выполнен в виде виброкомпрессора, генерирующего колебания, находящиеся в противофазе с колебаниями, возникающими при землетрясении, которые способствуют нормализации положения в зоне возникновения землетрясения.

Недостатком известного устройства является его ограниченные функциональные возможности, так как оно применимо лишь при возникновении катастрофического землетрясения. Кроме того, эксплуатация известного устройства сопряжена с высокими затратами вследствие необычно высоких энергозатрат, обусловленных необходимостью излучения мощных механических колебаний в течение достаточно длительного времени.

Задачей настоящего изобретения является повышение эффективности способа предотвращения катастроф при одновременном расширении функциональных возможностей заявленных способа и устройства, применяемого для его реализации и снижение затрат на реализацию способа.

Решение указанных задач обеспечивается новым способом предотвращения катастроф путем оперативного прогнозирования зарождающейся катастрофы и выработки сигналов, нормализующих положение в зоне предполагаемой катастрофы, который реализуется при помощи нового устройства.

В соответствии с изобретением способ предотвращения катастроф осуществляется посредством регистрации и обработки сигналов, характеризующих положение в зоне предполагаемой катастрофы, при этом обрабатывают сигналы светового излучения от элемента, соответствующего зоне предполагаемой катастрофы, при помощи оптической системы, состоящей из чувствительных элементов, выполненных из ориентированных кристаллов, расположенных последовательно по направлению воспринимаемого излучения, причем формируют в ней нормированное излучение для нормализации положения в зоне предполагаемой катастрофы; при этом предпочтительно: проводить непрерывное сканирование различных участков элемента, соответствующего зоне предполагаемой катастрофы, определяя участок зарождения катастрофы по увеличению характеристик излучения, выходящего из оптической системы, в сравнении с характеристиками излучения других участков; участков зарождения катастрофы природного характера определять по увеличению характеристик излучения, соответствующего этому участку на 20—28 % в сравнении с характеристиками излучения двух участков; участок зарождения катастрофы техногенного характера определять по увеличению характеристик излучения, соответствующего этому участку на 10—12 % в сравнении с характеристиками излучения других участков.

В соответствии с изобретением устройство для предотвращения катастроф содержит преобразователь сигналов, характеризующих положение в зоне предполагаемой катастрофы, систему регистрации сигналов и излучатель, генерирующий сигналы, способствующие нормализации в этой зоне, при этом преобразователь сигналов состоит из элемента, соответствующего зоне предполагаемой катастрофы, и оптической системы, содержащей чувствительные элементы, изготовленные из ориентированных кристаллов, расположенных последовательно по направлению воспринимаемого светового излучения, которые выполнены в виде идентичных кубиков, взаимно смещенных и имеющих различную ориентацию оптических осей, причем соответствующие плоскости кубиков расположены параллельно, стеклянную сферу, в которой размещены кубики, образующие с ней непрерывную прозрачную структуру, и датчик нормированного излучения, соединенный с последним по направлению распространения излучения кубиком посредством оптического волокна, при этом датчик подключен к процессорной системе, снабженной пакетом программ обработки сигналов датчика; при этом предпочтительно: преобразователь сигналов выполнять в виде сочетания оптической системы и карты местности, на которой предполагается возникновение катастрофического землетрясения; преобразователь сигналов выполнять в виде сочетания оптической системы и системы телеметрии с монитором, на котором воспроизводится элемент, соответствующий зоне предполагаемой техногенной катастрофы; пакет программ процессорной системы снабжать всевозможными параметрами зон предполагаемых катастроф.

Расположение чувствительных элементов в оптической системе
Расположение чувствительных элементов в оптической системе (вид в проекции на плоскость OX, OZ)
Расположение чувствительных элементов в оптической системе
Расположение чувствительных элементов в оптической системе (вид в проекции на плоскость OX, OY)

В основу настоящего изобретения положена разработанная заявителем теория волнового синтеза в сочетании с формулой общей реальность (см. Диссертация на соискание ученой степени доктора физико-математических наук, Г. П. Грабовой, «Исследование и анализ фундаментальных определений оптических систем для прогноза землетрясений и катастроф производственных объектов», М., Из-во РАЕН, 1999, с. с. 9—19). В соответствии с теорией волнового синтеза реальность можно рассматривать как периодическое пересечение стационарных областей с динамическими, при этом в зонах пересечений возникает синтез динамической волны — со стационарной. В кристаллах аналогичный процесс позволяет путем решения обратной задачи получить из стационарной среды в форме кристалла динамические компоненты волнового синтеза, то есть фазу времени. При определенном расположении кристаллов в пространстве происходит нормирование среды, являющейся источником определенного элемента света. Таким образом появляется возможность нормировать среду, информация о которой содержится в элементе света. Кроме того, можно определить время отклонения от нормы после того как ресурсы оптической системы исчерпаны, например, определить время землетрясения или катастрофы. Нормализации положения в зоне предполагаемой катастрофы способствует использование излучателя, который является в виде микропроцессора, нормализация положения в зоне предполагаемой катастрофы осуществляется посредством оптической системы, состоящей из ориентированных кристаллов, расположенных последовательно по направлению воспринимаемого светового излучения, в которую поступает информация от излучающей среды. В качестве излучающей среды может использоваться либо карта местности, либо система телеметрии с монитором. При поступлении света от излучающей среды на чувствительные элементы оптической системы начальное действие нормирования излучающей среды первым кристаллом происходит в момент, когда элемент света, исходящий из третьего кристалла, проходит через четвертый кристалл, и следующее действие нормирования осуществляется при прохождении элемента света через все кристаллы. Свет выбран в качестве носителя информации в связи с тем, что это позволит визуализировать и регистрировать законы связей, устанавливаемых формулой общей реальности. Усилить процесс можно использованием лазерного излучения. В качестве источника получения выходной информации может быть использован датчик нормированного излучения, выполненный, например, в виде датчика температуры, соединенного с последним чувствительным элементом. Регистрация сигналов, поступающих с датчика, осуществятся при помощи процессорной системы, к которой подключены датчик и излучатель. Использование в процессорной системе пакета программ, содержащих всевозможные параметры зон предполагаемых катастроф, позволяет повысить эффективность заявленного устройства. В общем случае заявленные способ и устройство позволяют преобразовать на уменьшение или — на предотвращение информацию в форме световых импульсов о катастрофах как природного, так и техногенного характера, при этом прогнозирование и профилактика всевозможных катастрофических явлений может проводится из любой точки пространства.

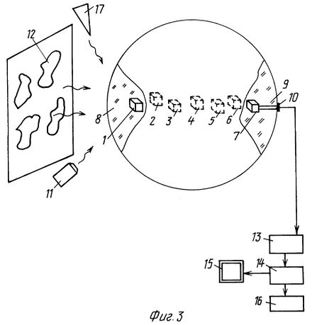
Приложенные чертежи изображают: фиг. 1 — расположение чувствительных элементов в оптической системе (вид в проекции на плоскость , , где  — направление горизонтальное,  — вертикальное), фиг. 2 — расположение чувствительных элементов в оптической системе (вид в проекции на плоскость , ), фиг. 3 — общий вид устройства, используемого для осуществления способа предотвращения катастроф.

Устройство содержит: чувствительные элементы 1, 2, 3, 4, 5, 6, и 7, выполненные в виде кубиков одинакового размера, расположенных в стеклянной сфере 8 и образующих с ней монолитную прозрачную систему, оптическое волокно 9, соединяющее последний чувствительный элемент с датчиком нормированного излучения 10, лазер 11, элемент 12, соответствующий зоне предполагаемой катастрофы, выполненный, например, в виде карты местности, усилитель 13 сигналов, поступающих с датчика, установленный на входе процессорной системы 14, снабженной пакетом программ обработки сигналов, поступающих с датчика, и подключенной к дисплею 15 и к излучателю 16 сигналов, способствующих нормализации положения в зоне предполагаемой катастрофы, и объект 17, генерирующий биосигналы.

Количество чувствительных элементов в оптической системе может быть выбрано равным 7, 14 и т. п. Чувствительные элементы 1—7 изготавливаются из кристаллов, например из горного хрусталя или алмазов, и выполняются в виде кубиков, имеющих одинаковые размеры, например, с длиной грани 20 мм. При фиксации кубиков материалом стеклянной сферы 8 боковые грани всех кубиков располагаются параллельно. Расположение кубиков 1—7 в сфере 8 и ориентация их оптических осей выбраны так, что происходит профилактика катастрофических явлений, например землетрясений с осуществлением гармонизации. Кубики смещены в двух взаимно перпендикулярных плоскостях, как это показано на фиг. 1 и фиг. 2. Выходные параметры оптической системы регистрируются с использованием датчика нормированного излучения 10, располагаемого со стороны сферы 8, обратной по отношению к обращенной к карте местности 12. Датчик 10 предпочтительно выполнять в виде малоинерционного, высокочувствительного пленочного элемента, служащего, например, датчиком температуры. Использование лазера 11 позволяет повысить точность измерения сигналов, поступающих с датчика 10. Применение объекта, генерирующего биосигналы, дополнительно способствует нормализации положения в зоне предполагаемой катастрофы. Работа устройства рассматривается при описании заявленного способа предотвращения катастроф.

В соответствии с заявленным способом световое излучение, поступающее от элемента 12, соответствующего зоне предполагаемой катастрофы, выполненного, например, в виде полномасштабной карты местности, направляют на оптическую систему, состоящую из стеклянной сферы 8, в которой размещены чувствительные элементы 1—7, выполненные из ориентированных кристаллов, расположенных последовательно по направлению воспринимаемого светового излучения. При преобразовании светового излучения в такой оптической системе (см. фиг. 3) происходит выделение максимально нормированной формы светового объема. Нормирование осуществляется при прохождении элемента света через чувствительные элементы 1—7, взаимное расположение которых вызывает гармонизацию этого светового объема, что в свою очередь нормализует положение в зоне предполагаемой катастрофы. При этом степень уменьшения катастрофического явления находится в соответствии с величиной нормирования светового объема. Сигналы с датчика нормированного излучения 10 после прохождения усилителя 13 передаются в процессорную систему 14, содержащую пакет программ обработки поступающих сигналов. После обработки сигналов на дисплее 5 получают изображение характеристик сигналов. При прогнозировании катастрофического явления активизируется излучатель 16 и в зону предполагаемой катастрофы посылаются дополнительные сигналы, способствующие нормализации положения в этой зоне. Предпочтительно проводить непрерывное сканирование различных участков элемента 12, соответствующего зоне предполагаемой катастрофы, посредством последовательного поглощения излучения, поступающего от элемента 12 на всех чувствительных элементах 1—7. Участок зарождения катастрофы при этом определяют по увеличению характеристик излучения этого участка в сравнении с характеристиками излучения других участков. При зарождении катастрофы природного характера, например землетрясения, участок зарождения катастрофы имеет характеристики излучения, на 20—28 % превышающие характеристики других участков элемента 12. При увеличении характеристик излучения менее чем на 20 % катастрофического явления не произойдет, а при увеличении характеристик излучения более чем на 28 % можно сделать вывод о развитии катастрофического явления, носящего чрезвычайный характер, при зарождении катастрофы техногенного характера, например, связанного с нарушением технологического цикла ядерного реактора, участок зарождения катастрофы определяют по увеличению характеристик излучения на 10—12 %. При увеличении характеристик излучения менее чем на 10 % катастрофического явления не будет, а при увеличении характеристик излучения более чем на 12 % можно ожидать экстремального развития событий.

Приведем примеры осуществления заявленного способа с использованием опытного образца заявленного устройства, содержащего оптическую систему, состоящую из стеклянной сферы, в которой последовательно распределены семь чувствительных элементов, изготовленных из горного хрусталя, выполненных в виде кубиков одинакового размера с длиной грани 20 мм. К последнему по направлению распространения светового излучения кубику через оптическое волокно подключен датчик нормированного излучения, выполненный в виде тонкопленочного датчика температуры. Датчик через усилитель присоединен к входу процессорной системы, выполненный с возможностью ускоренного расчета четырехкратного интегратора.

Общий вид устройства
Общий вид устройства, используемого для осуществления способа предотвращения катастроф

Пример 1. Исследовалось зарождение катастрофического землетрясения в районе Камчатки. Стеклянную сферу 8 с чувствительными элементами 1—7 размещали на расстоянии 250 мм от полномасштабной карты Камчатки, при этом датчик нормированного излучения 10 располагался на поверхности сферы 8, противоположной той, которая была обращена к карте. Сигналы, поступающие с датчика 10, проходили через усилитель 13 и поступали на процессорную систему 14, где непрерывно обрабатывались, регистрировались и выводились на дисплей 15. Измерения проводились в период, начавшийся в 09 ч. 03 мин. 26 июня 1999 г. Было спрогнозировано возникновение землетрясения магнитудой 5,1 в районе Камчатки, которое произошло 09 ч. 03 мин. 03 июля 1999 г., причем занижение магнитуды в результате использования заявленного устройства составило 0,4 балла.

Пример 2. При тех же условиях, что и в предыдущем примере проводилось сканирование элемента 12, соответствующего зоне предполагаемого землетрясения — карте Японии. Было спрогнозировано возникновение землетрясения с магнитудой 6,2, которое произошло 09 ч. 03 мин. 03 июля 1999 г. Занижение магнитуды в сравнении с первоначально спрогнозированной величиной составило 0,8 балла .

Пример 3. В условиях, аналогичных примеру 1, сканировалась карта Аляски. Было спрогнозировано точное время возникновения землетрясения с магнитудой 4,8, которое произошло в 19 ч. 26 мин. 04 июля 1999 г., причем занижение величины магнитуды составляло 0,5 балла.

Пример 4. В условиях, аналогичных примеру 1, проводили сканирование карты Филиппин. Было спрогнозировано точное время возникновения землетрясения с магнитудой 4,0, которое состоялось в 13 ч. 32 мин. 04 июля 1999 г., причем занижение магнитуды в результате использования заявленного устройства составляло 0,2 балла.

Анализ полученных данных показывает, что во всех случаях получено полное подтверждение прогнозной фазы за 7 суток до начала с точным указанием времени начала землетрясения. Величина занижения магнитуды в результате использования заявленного устройства находилась в диапазоне 0,2—0,8.

Преимуществами заявленных способа и устройства для его осуществления являются повышение эффективности за счет точного прогнозирования начала возникновения катастрофических явлений, возможность дистанционной нормализации положения в зонах предполагаемых катастроф. Одновременные заявленные способ и устройство для его осуществления имеют в сравнении с известными более широкую область применения, поскольку могут быть использованы для приготовления и предотвращения катастроф как природного, так и техногенного характера при полном соблюдении экологической чистоты при их использовании. Кроме того, снижаются затраты на реализацию способа вследствие простоты операций способа и возможности многократного использования устройства, при помощи которого осуществляется способ.

Формула изобретения

  1. Способ предотвращения катастроф, включающий регистрацию и обработку сигналов, характеризующих положение в зоне предполагаемой катастрофы, отличающийся тем, что обрабатывают сигналы светового излучения от элемента, соответствующего зоне предполагаемой катастрофы, при помощи оптической системы, состоящей из чувствительных элементов, выполненных из ориентированных кристаллов, расположенных последовательно по направлению воспринимаемого излучения, при этом формируют в ней нормированное излучение для нормализации положения в зоне предполагаемой катастрофы.
  2. Способ по п.1, отличающийся тем, что проводят непрерывное сканирование различных участков элемента, соответствующего зоне предполагаемой катастрофы, при этом участок зарождения катастрофы определяют по увеличению характеристик излучения, выходящего из оптической системы в сравнении с характеристиками излучения других участков.
  3. Способ по п.2, отличающийся тем, что участок зарождения катастрофы природного характера определяют по увеличению характеристик излучения, соответствующего этому участку на 20—28 % в сравнении с характеристиками излучения других участков.
  4. Способ по п.2, отличающийся тем, что участок зарождения катастрофы техногенного характера определяют по увеличению характеристик излучения, соответствующего этому участку на 10—12 % в сравнении с характеристиками излучения других участков.
  5. Устройство для предотвращения катастроф, содержащее преобразователь сигналов, характеризующих положение в зоне предполагаемой катастрофы, систему регистрации сигналов и излучатель, генерирующий сигналы, способствующие нормализации положения в этой зоне, отличающееся тем, что преобразователь сигналов состоит из элемента, соответствующего зоне предполагаемой катастрофы, и оптической системы, содержащей чувствительные элементы, изготовленные из ориентированных кристаллов, расположенных последовательно по направлению воспринимаемого светового излучения, которые выполнены в виде идентичных кубиков, взаимно смещенных и имеющих различную ориентацию оптических осей, при этом соответствующие плоскости кубиков расположены параллельно, стеклянную сферу, в которой размещены кубики, образующие с ней непрерывную прозрачную структуру, и датчик нормированного излучения, соединенный с последним по направлению распространения излучения кубиком посредством оптического волокна, причем датчик подключен к процессорной системе, снабженной пакетом программ обработки сигналов датчика.
  6. Устройство по п.5, отличающееся тем, что преобразователь сигналов выполнен в виде сочетания оптической системы и карты местности, на которой предполагается возникновение катастрофического землетрясения.
  7. Устройство по п.5, отличающееся тем, что преобразователь сигналов выполнен в виде сочетания оптической системы и системы телеметрии с монитором, на котором воспроизводится элемент, соответствующий зоне предполагаемой техногенной катастрофы.
  8. Устройство по п.5, отличающееся тем, что пакет программ процессорной системы включает всевозможные параметры зон предполагаемых катастроф.

См. также